-
首页
-
解决方案
数智酒吧解决方案
翠园中学是深圳市老牌重点中学、深圳市八大名校之一、创建于1964年、2018年成立翠园教育集团、是罗湖的教育旗舰。学校先后荣获了国家首批国际生态学校、全国十佳校园文学示范校、全国科技创新人才培养项目实验学校、全国首批足球特色学校、广东省首批国家级示范性高中、广东省首批书香校园、广东省高中课程改革样本学校、广东省德育示范学校、广东省依法治校示范校和深圳市高中新课程新教材实施“国家级示范区首批学科示范基地”、十大深圳科技创新教育领军学校等称号,为国家培养了大批优秀人才,为深圳和罗湖经济社会发展作出了卓越贡献。
量贩KTV解决方案
KTV解决方案
商务KTV解决方案
商务KTV解决方案
-
合作客户
-
应用商店
-
关于我们
-
服务与支持
-
下载中心
推荐问题
其他问题
更多提成商品
- 作者:乐点创想
- 发布时间:2025-07-18 10:57:58
- 点击:
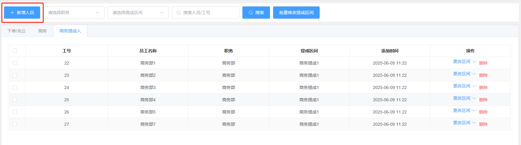
提成商品分为【下单/酒水充公】和【商务】提成3部分,当增加商品后【下单/充公】和【商务】页面会自动显示增加的商品。
【下单/酒水充公】提成金额设置
(1)在页面左上角按【解锁编辑】再到对应商品填写提成金额或百分比,填写完毕后左上角按
【保存锁定】

【商务】提成金额设置
(1)商务提成指点舞、点香槟等提成;在商务提成人新增人员勾选需要提成人员

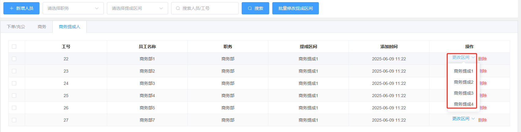
(2)添加好商务提成人后在操作栏可以更改提成区间,这里的提成区间指同一个商品有不同的提成
金额,可绑定不同提成人员;如不修改默认提成为商务提成1

(3)再到商务页解锁编辑填写对应的提成金额;均分指一个商品有多人提成按平均分;按份额指物
品的数量和提成人数量一样,按份额分。

微信扫一扫分享资讯
上一篇: 没有了
下一篇: 没有了
